Змінюй хід війни! Допомагай ЗСУ!

спортивный иж

  • Автор теми Автор теми Billy.
  • Дата створення Дата створення
Спасибо большое.наконец-то все понял.:пиво:Я бы еще наверное сотку добавил на шероховатость после шлифовки.притира нет

сделайте притир знач, поверхность пальца нгш и рабочая поверхность шатуна должны быть практически до зеркала

+ ко всему прочему, для лучшей смазки подшипника нгш, надо сделать продольные пропилы в нгш , если их нет
 
что значит "шх два раза не выдерживало. стенка тонкая"

Делал из шх15 и ст20 с одинаковым отверстием внутри.цементированый палец изнутри сырой,а шх естественно имеет твердость по всей толщине.У меня палец из шх лопнул.это я про поршневой палец.НГШ буду делать без отверстия:пиво:
 
иглы советских подшипников часто идут с разбросом по диаметру, потому очень желательно с пассаметром отобрать комплект на подшипник
втулку вгш желательно растачивать с минимальным припуском под развертку, базируя шатун по боковой шлифованной поверхности, а не от плоскости цилиндра

Ладно,от плоскости прилегания картера к цилиндру.толку от шлифованой боковой поверхности шатуна, если она не соосна нижней головке,а рихтуется от руки (***коват шатун).если я разверну по Вашему методу,то ВОЗМОЖНО поршень чуть перекосит в цилиндре.базу буду брать от картера.:пиво:
 
сделайте притир знач, поверхность пальца нгш и рабочая поверхность шатуна должны быть практически до зеркала

+ ко всему прочему, для лучшей смазки подшипника нгш, надо сделать продольные пропилы в нгш , если их нет

Шатун из самых первых планет.С обоймой подшипника и прорезями в стоке:yahoo:притир,так притир :клас:
 
Прикидываю
b4bf19f7908fb6daa1c72b1.webp
пасаметр в наличии)
 
f9ebb6055722130f0785.webp
Пальцы будут без отверстия (нгш)
 
Ладно,от плоскости прилегания картера к цилиндру.толку от шлифованой боковой поверхности шатуна, если она не соосна нижней головке,а рихтуется от руки (***коват шатун).если я разверну по Вашему методу,то ВОЗМОЖНО поршень чуть перекосит в цилиндре.базу буду брать от картера.:пиво:

так это не верно..
а если у шатуна еще и винтовой изгиб например.. выйдет, что поршень будет качаться в плоскости не перпендикулярной оси кривошипа..
я бы однозначно проверял и правил шатун с поверкой на поверочной плите , этот опыт и навыки необходимы, дальше захочется собрать оборотистый двигатель, а там это важно..

дистанционные шайбы в нгш можно сделать грибкообразными для большей жесткости , и из бронзы, иглы только по торцам скруглить большим радиусом, чтобы не вгрызались в шайбы

и еще момент, если есть возможность, проверить иглы на твердость желательно
 
Делал из шх15 и ст20 с одинаковым отверстием внутри.цементированый палец изнутри сырой,а шх естественно имеет твердость по всей толщине.У меня палец из шх лопнул.это я про поршневой палец.НГШ буду делать без отверстия:пиво:

а какая чистота обработки была внутри пальца, не анализировали сам излом, как пошла трещина..?
внутреннее отверстие в пальце можно делать с коническими участками, от края к ыентру переходящие в цилиндрические, так и уменьшается масса пальца и не ослабляется до критической величины сечение
 
так это не верно..
а если у шатуна еще и винтовой изгиб например.. выйдет, что поршень будет качаться в плоскости не перпендикулярной оси кривошипа..
я бы однозначно проверял и правил шатун с поверкой на поверочной плите , этот опыт и навыки необходимы, дальше захочется собрать оборотистый двигатель, а там это важно..

дистанционные шайбы в нгш можно сделать грибкообразными для большей жесткости , и из бронзы, иглы только по торцам скруглить большим радиусом, чтобы не вгрызались в шайбы

и еще момент, если есть возможность, проверить иглы на твердость желательно

Понял.Очень важное замечание.то есть проще и лучше проверить на лекальной плите от плоскостей ГШ? Лекальные плитки и индикаторы есть.Блин,да я могу на координатно-расточной поставить и проверить,но так совсем не интересно.шайбы оставлю родные,коленвал с боковыми жестяными крышками и латунным сепаратором был.стало быть ранний,шайбы ну очень твердые и качественные.иглы уже шлифанул по плоскости,но скругление естественно осталось.перед порезкой отдам в термичку на прокол.Подшипник ссср:пиво: .думаю о 29 иглах 3.81.мотор делается для коляски.оборотов там не будет,я надеюсь.да и фуоз возможно поправит детонацию.Опыт-да,согласен.трєба брать.лет в 30 я соберу гоночный юпитер :D благо не все мотоциклы на метал ушли.
 
а какая чистота обработки была внутри пальца, не анализировали сам излом, как пошла трещина..?
внутреннее отверстие в пальце можно делать с коническими участками, от края к ыентру переходящие в цилиндрические, так и уменьшается масса пальца и не ослабляется до критической величины сечение

К сожалению нет.Мне тогда подробности были не интересны,хотелось кататься.решил попробовать ст20 с цементацией,сделал быстренько точно такой же...и с такой технологией заменил несколько поршневых.причем износ сотки.просто ставлю потому что есть.отверстие везде 10,5.а по поводу облегчения-овчинка выделки не стоит ,на иж планета.по этим же причинам не сверлю палец нгш.
 
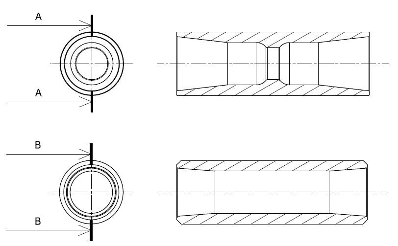
Не зависимо от материала, палец ВГШ лучше делать такой формы как вверху.
 

Вкладення

  • cwbrDGl5czc.webp
    cwbrDGl5czc.webp
    25.1 КБ · Перегляди: 161
иглы советских подшипников часто идут с разбросом по диаметру, потому очень желательно с пассаметром отобрать комплект на подшипник
Надо же уточнить, что не больше 3 микрон. Хотя лично я бы предпочел купить японский подшипник и не морочить себе голову)
 
Надо же уточнить, что не больше 3 микрон. Хотя лично я бы предпочел купить японский подшипник и не морочить себе голову)

Ты пасаметр в руках держал?:) (не умею пользоваться ,но есть и желание и пасаметр,дай научиться хоть иголки мерять) .а по поводу японского подшипника-так проще ж сразу японца и купить тогда.смысл теряется☺
 
Ты пасаметр в руках держал?
Могу свой сфоткать))) Правда иглы так и не довелось померять. Меряется элементарно , на отклонение одной иглы от дугой. Сам размер иглы там не померяешь, только разницу игл между собой.


Какой такой подшипник?с обоймами?
Нет, просто сепаратор с иглами, чтобы не морочится с поиском и сортировкой иголок.
 
Нет, просто сепаратор с иглами, чтобы не морочится с поиском и сортировкой иголок.

Так он же стандартный.а я уже давно ступенчатый палец сделал.а в этот раз питтинг на шатуне (кольце) сильно выкрошило.это ж шлифовка.где ж я сепаратор под 30.58 в НГШ к примеру найду:пиво: это надо и кольцо новое делать....да и посадка.не первый раз разборка .если сепаратор стандартный то и палец соответственно.а так как всегда,все по месту.
 
Так он же стандартный.а я уже давно ступенчатый палец сделал
То понятно, этим надо было с самого начала заниматься, теперь только насыпь. Ну если сделаешь всё правильно, будет не хуже.
 
Парни,а кто нибудь знает сколько и какого диаметра были иглы на первых планетах без сепаратора?
 
Назад
Зверху Знизу