Вообще может пойти лесом в этом годуТы имеешь ввиду в этом году, или вообще восток может пойти лесом?
Но смотря какой оператор
КС кстати Сумскую обл покрыл
Перегляньте відео нижче, щоб дізнатися, як встановити наш сайт як веб-програму на головному екрані.
Замітка: This feature may not be available in some browsers.
Вообще может пойти лесом в этом годуТы имеешь ввиду в этом году, или вообще восток может пойти лесом?
А у меня ток на подоконнике 3-4ж от КСХз, у меня по-прежнему 4G+
⛄;68598235 сказав(ла):я конечно хотел
Quectel EP06 - это 4G модем выполненный в виде PCI Express® Mini Card (Mini PCIe) модуля, с поддержкой агрегации частот LTE Advanced категории 6, оптимизированных специально для приложений M2M и IoT. Технология LTE Advanced обеспечивает максимальную скорость передачи данных до 300 Мбит / с.
![]()
но было куча сомнений что на моем ноуте заведется
и он дороже ...
пока что мне и этого хватит, может когда то и еп06 куплюради эксперимента
⛄;68615156 сказав(ла):не факт что он заработал бы в целом, распиновка контактов могла не подойти
⛄;68615866 сказав(ла):а распиновка норм точно?
Иот. Скорость такая, как написано должна быть. Спидтест не делали, может сделаю когда-нибудь.⛄;68615891 сказав(ла):а шо скорость ?
или у тебя иот)
⛄;68615875 сказав(ла):в том то и дело) мне нужно на стандартный mini pcle установить
⛄;68615940 сказав(ла):да я об этом, о схеме такой и писал
но разбираться ...
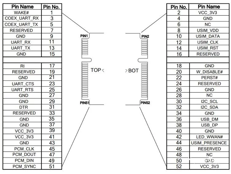
вкратце, пины как и у 7600 симком?
⛄;68615948 сказав(ла):дааа
но они такие же как и в 7600?
мне просто лень прям щас сравнивать))
может ты знаешь ответ априори
Особенно в 1:54 ночи.
⛄;68615948 сказав(ла):дааа
но они такие же как и в 7600?
мне просто лень прям щас сравнивать))
может ты знаешь ответ априори
вопрос: равны ли пины кутела = пинам симком
если нет
то упираемся опять в то что нет гарантии что на ноуте заработает
Праста выгодна во всех вариантах - меньше времени, сил, денег и мозгоёбства.⛄;68615831 сказав(ла):в это смысл
это как добиться девушку или купить прасту
разницу надеюсь понимаешь?
у меня кс инет глючит⛄;68621779 сказав(ла):PS чтото глючит

да, но думал иначе когда кс присылал акции и не думал что он так быстро кидаловом займется⛄;68622129 сказав(ла):похоже лайф для инета самое годное

ну за кс я уже больше пол года не оплачиваю, за бонусы живу.⛄;68622147 сказав(ла):лайф постоянно шлет на всякие праздники в бип типа вам 1 гиг инета



⛄;68622129 сказав(ла):похоже лайф для инета самое годное
про глючит я про ноут писал
думал изза того что модуль в слоте pcle
поставил в переходник юсб, тоже самое
воткнул переходник в комп , все ок)
ну как бы намного стабильнее
я вообще скорость редко меряю.а вообще не то меряем.
я вообще скорость редко меряю.
включаю онлайн тв и смотрю как залипает и ток после лезу замерять скорость
как пишет резка : стабильность каналану онлайн фулл шд всегда без проблем.редко проблемки.
тут еще и от компа зависит и от настройки вай-фай.
нужно только n и только 11 полосу выставлять..

Подключили, но судя по связи за городом вроде как стало хуже.Ну шо 4G у кого то работает?