Apple сама займётся разработкой модулей связи для будущих iPhone
Компания Apple собирается отказаться от услуг сторонних производителей и намерена самостоятельно разрабатывать модемы для iPhone. Такой информацией поделилось тайваньское отраслевое издание DigiTimes, которое ссылается на собственные источники, близкие к Apple.
По данным издания, уже в следующем году Apple начнёт самостоятельно разрабатывать модули сотовой связи для своих смартфонов. Компания уже формирует команду специалистов, которые займутся их разработкой. А вот производство модемов будет поручено компаниям Samsung и GlobalFoundry.
А один из источников DigiTimes предположил, что в дальнейшем Apple может перейти на однокристальные платформы (SoC) со встроенными модулями связи. Однако когда это произойдёт и произойдёт ли вообще, пока не ясно.
Стоит отметить, что сейчас в своих мобильных устройствах Apple использует модули связи Qualcomm. А их выпуском занимается тайваньская компания TSMC, специализирующаяся на производстве полупроводниковых изделий.
А другое тайваньское издание – Taiwan Industrial and Commercial Times– сегодня сообщило, что массовое производство двух новых моделей iPhone начнётся не одновременно, как ожидалось ранее, а в разное время. Так, версия с 4.7-дюймовым экраном поступит в производство в июле текущего года, а вот выпуск 5.5-дюймовой модели из-за производственных проблем стартует не раньше сентября.
Это означает, что новые iPhone будет представлены и поступят в продажу в разное время. Но не исключено, что их анонс состоится в одно время, по слухам, это будет сентябрь, а вот в продажу 5.5-дюймовая версия смартфона поступит позже.
Между тем, накануне сотрудники портала MacRumors опубликовали реалистичные 3D-модели двух новых iPhone. Они созданы по чертежам, которыми недавно поделились японские СМИ.
За этот год Apple намерена продать 65 млн «умных» часов (анонс которых намечен на сентябрь).
Выход новых смартфонов iPhone не единственное, чего с интересом ждут поклонники (и не только) Apple во втором полугодии. Возможно даже большей загадкой являются «умные» часы, которые, согласно многим слухам и утечкам, готовит купертинская компания.
Если верить новым данным, iWatch будут анонсированы в сентябре. Вполне возможно, вместе с новым смартфоном с дисплеем диагональю 4,7 дюйма. Согласно источнику компании Flexium Interconnect, Zhen Ding Technology Holding и Career Technology, которые занимаются производством гибких печатных плат (FPCB), уже доставили образцы своей продукции Apple. Zhen Ding на данный момент является крупнейшим поставщиком подобной продукции для «яблочной» компании. В связи с предполагаемым значительным увеличением спроса, производитель планирует дополнительно инвестировать в свой бизнес 100 млн долларов в течение текущего года. В свою очередь Flexium инвестирует 50-66 млн долларов, а Career около 35 млн долларов.
По данным другого источника, производством iWatch займётся компания Quanta. Также в цепочку поставок компонентов войдут такие производители как Richtek и TPK. Также указано, что часы будут использовать какую-то платформу собственной разработки Apple, а её производством займётся Samsung. Интересно, что согласно источнику, Apple поставит на рынок 65 млн «умных» часов до конца текущего года. А ведь на это у компании будет всего несколько месяцев.
В Сети появились «живые» фото смартфона iPhone 6
До анонса смартфона iPhone 6 ещё далеко. Несмотря на это количество слухов и утечек уже достаточно велико. Напомним, что большинство источников склоняется к версии, что Apple готовит два новых смартфона с дисплеями диагональю 4,7 и 5,5 дюйма. Теперь же в Сети появились «живые» фото, на которых якобы запечатлён именно iPhone 6.
Как можно видеть, смартфон действительно ощутимо больше существующей модели. Также можно отметить, что Apple не стала изобретать велосипед и кардинально менять дизайн. Кроме этого видно, что смартфон получит очень тонкий корпус. Отдельного внимания заслуживает выступающая из корпуса камера. Возможно, это указывает на подготовку компанией сменных объективов для смартфона, о чём также в своё время писали в Сети. К слову, по некоторым данным новый iPhone получит 8-мегапиксельную камеру с максимальной диафрагмой F/1,8. Конечно, стоит помнить, что данные фото могут оказаться либо подделкой, либо просто не иметь отношения к продукции Apple.
Apple патентует технологию нанесения олеофобного покрытия на сапфировое стекло
В этом году компания Apple, по слухам, представит сразу два новых смартфона, которые получат дисплеи с диагональю более чем 4 дюйма. Не считая этого, наиболее спорный момент касается использования сапфирового стекла в данных аппаратах. Множество различных слухов и утечек противоречат друг другу и не позволяют сделать какие-либо выводы.
Новая порция данных указывает на то, что Apple всё-таки планирует использовать сапфировое стекло. Правда, оно вполне может защищать дисплей «умных» часов, а не смартфонов iPhone. Также вполне возможно, что данный патент найдёт своё применение в несколько более отдалённом будущем.
Как бы там ни было, патент называется «Олеофобное покрытие для сапфира» и описывает различные аспекты, связанные с созданием такого покрытия на сапфировом стекле перед установкой оного в мобильное устройство. Дело в том, что стандартная технология, используемая в случае привычного стекла Gorilla Glass не подходит для стекла, созданного из выращенных кристаллов сапфира. Для решения проблемы Apple предлагает наносить на стекло специальный переходный слой, который в свою очередь будет покрываться олеофобным покрытием. При этом данный слой может быть выполнен из алюминия, диоксида кремния либо их комбинации.
Apple выбрала производителя часов iWatch и разместила первый заказ.
iWatch будут оборудованы датчиками, измеряющими частоту сердцебиения и давление крови, помимо других параметров организма.
Компания Apple разместила заказ на производство 65 миллионов часов iWatch у тайваньского производителя Quanta Computer, сообщает китайское издание Economic Daily News.
Именно столько часов производитель должен будет выпустить за первый год. Продажи часов iWatch должны начаться в III квартале текущего года. EDN также сообщает, что Apple договорилась с поставщиками всех деталей для нового гаджета. Часы будут оснащаться чипом собственной разработки Apple. Производством процессора будет заниматься корпорация Samsung. Поставки корпусов, гибких дисплеев и системных плат будут осуществлять тайваньские партнеры Apple.
По некоторым сведениям, iWatch будут оборудованы датчиками, измеряющими частоту сердцебиения и давление крови, помимо других параметров организма. Часы могут быть оснащены и датчиками УФ-излучения.
"Датчики будут измерять воздействие ультрафиолетовых лучей, чтобы помочь людям, страдающим от повышенного риска загара, или же просто дать возможность контролировать чрезмерное пребывание на солнце. Мы считаем, что технология выглядит вполне привлекательной для OEM-производителей, которые хотят как-то отличиться",
- написал аналитик Брейн Кертис.
«Умные» часы Apple iWatch предупредят владельца о риске солнечного ожога
Сообщается, что модель будет оснащаться сенсором ультрафиолетового излучения. Этот сенсор будет отслеживать уровень солнечного излучения и предупреждать пользователя о риске ожогов, если излучение станет слишком сильным. По данным источника, сенсор, который планируется использовать в Apple iWatch, создан компанией Silicon Labs.
«Умные» часы Apple iWatch предупредят владельца о риске солнечного ожога
Этот сенсор был представлен в феврале текущего года и его создатели утверждают, что это первый одночиповый цифровой УФ-сенсор на рынке. Кроме основной функции, он несет еще ряд полезных возможностей, включая измерение частоты пульса, оксиметрии крови (насыщение кислородом), а также функцию управления с помощью жестов. Все это размещено на одном чипе размером 2 кв. мм.
Apple готовит «бюджетный» iMac и MacBook Air с Retina-дисплеем?!
Аналитик Минг-Чи Куо (Ming-Chi Kuo) из KGI Securities, регулярно делающий прогнозы касательно новинок Apple, полагает, что компания из Купертино уже в текущем квартале обновит линейку моноблочных настольных компьютеров iMac.
Анонс очередной модели iMac, предположительно, состоится в ходе конференции для разработчиков Apple Worldwide Developers Conference (WWDC), которая откроется 2 июня. Господин Куо считает, что новый моноблок будет предлагаться по относительно невысокой (для продуктов Apple) цене, чтобы составить конкуренцию десктопам класса «всё в одном» производства HP и Lenovo. Появление «бюджетного» iMac, по прогнозам, позволит Apple увеличить продажи устройств данного семейства практически на четверть — до 4,8 млн штук в текущем году.
Кроме того, Apple приписывается намерение обновить линейку тонких и лёгких ноутбуков MacBook Air. В частности, ожидается появление модели с 12-дюймовым экраном в дополнение к нынешним версиям с 11,6- и 13,3-дюймовым дисплеем. В новинке якобы будет применена панель Retina высокого разрешения. Лэптоп, считает господин Куо, получит новый тракпад, безвентиляторный дизайн и минималистский облик с уменьшенным количеством портов ввода/вывода.
Аналитик KGI Securities также полагает, что Apple осенью представит полностью обновлённую приставку Apple TV. В ней, предположительно, будет реализована система жестового управления, избавляющая от необходимости использовать пульт. Анонс якобы состоится в конце третьего или начале четвёртого квартала.
Письмо Стива Джобса об Apple TV намекает на подписки, приложения и новаторский пульт
У соучредителя Apple Стива Джобса (Steve Jobs) были амбициозные планы по изменению телевизионного окружения, а получившее огласку электронное письмо, написанное руководителям компании за год до смерти, частично приоткрывает его взгляды на будущее телевизоров.
В 2010 году в этом письме господина Джобса в рамках стратегии компании на будущий год обсуждалась платформа Apple TV 2. Судя по перечисленным в письме идеям, соучредитель Apple предполагал внедрение браузера, приложений и новаторского пульта Magic Wand — патент подобное решение компания получила в 2009 году.
Также в письме описывается желание компании оставаться на рынке домашних развлечений и создать отличный и очень привлекательный для пользователей iOS-устройств аксессуар. Заявлено и желание Apple добавить ТВ-подписку, а также мультимедийные материалы от NBC, CBS, Viacom, HBO и других поставщиков контента.
Помимо собственно Apple TV
⚠ Тільки зареєстровані користувачі бачать весь контент та не бачать рекламу.
также упоминается желание Apple догнать Google в области облачных служб и обойти последнюю, конкуренция с платформой Android и наступление так называемой эпохи пост-ПК. Письмо было обнародовано в рамках судебного процесса между Apple и Samsung (корейский производитель обвиняется в нарушении пяти патентов Apple), причём в свидетельском показании Фил Шиллер (Phil Schiller) отметил, что упомянутые в email темы являются лишь намётками, а вовсе не чёткими планами на будущее.
Apple: на что потратить $159 млрд?
У высокотехнологических гигантов есть одна проблема, которую хотела бы иметь любая компания: большие запасы наличности. Компании, чья деятельность не лежит в сфере финансов, в совокупности обладают запасом кэша в размере $1,64 трлн, говорится в отчете Moody’s Investors Service за прошлый год. Причем большая часть из этих средств приходится на хайтек компании, вроде Apple, Google и Microsoft.
Возглавляет список Apple с кэшем в размере $159 млрд. И Apple предпочитает оставлять этот “клад” нетронутым, при этом не говоря почему. Порядка 10 лет назад, когда iPhone еще только готовился к релизу, запас наличности у “яблочников” был в разы скромнее – $5,5 млрд.
Экономист Джон Майнард Кейнс утверждает, что у компаний есть как минимум три основные причины, чтобы копить средства: для проведения различных ежедневных транзакций, для защиты в случае замедления темпов развития бизнеса и для возможных инвестиций, если представится подходящая возможность.
Конечно, Apple не тратит запасы наличности на сделки по приобретениям. Более того, по сравнению со своими “коллегами по цеху” компания тратит совсем немного на покупку сторонних технологий.
К примеру, Google потратила миллиарды на роботов, видеопорталы, беспилотные автомобили и системы искусственного интеллекта. Amazon покупала стартапы в сфере электронной коммерции и производителей компонентов, а также компании, производящие робототехнику. А Facebook за последние 2 месяца выложила более $20 млрд за мессенджер Whatsapp и Oculus VR, производящую технологии виртуальной реальности.
Apple ограничилась приобретением компании AuthenTec, разрабатывающей сканеры отпечатков пальцев, стартапа, ответственного за голосового помощника Siri, и аналитической компании Topsy. При этом ни одна из сумм сделок не дотягивает даже до $1 млрд. Да и покупки у Apple скучные: почти все идет на модернизацию iPhone. А как же веселье – всякие роботы, машинки и шлемы виртуальной реальности?
В интервью The Wall Street Journal гендиректор Apple Тим Кук сказал, что компания присматривается к крупным игрокам рынка, но не будет скупать стартапы и технологии только ради того, чтобы что-нибудь купить: “Деньги нам карман не жгут, поэтому мы придерживаемся стратегии подождать и хорошенько подумать, прежде чем сделать выбор”.
Но зато деньги Apple жгут карманы инвесторов, которые хотят, чтобы купертинский гигант использовал средства на выплату дивидендов, совершил обратный выкуп акций или и то и другое. Уровень квартальных дивидендов Apple решила не повышать, несмотря на требования некоторых известных акционеров, в частности миллиардера Карла Айкана, активнее выплачивать деньги.
Айкан довел объем своих инвестиций в Apple до приблизительно $3,6 млрд. Инвестор активно пытается убедить руководство Apple увеличить объем программы по выкупу акций до $150 млрд. “Мы считаем, что Apple оказывает плохую услугу акционерам, не увеличивая объем выкупа акций”, – написал в своем послании инвестор.
За прошедший квартал на выплату дивидендов и выкуп акций было потрачено $7,7 млрд. В совокупности, с момента начала действия соответствующей программы, акционерам было выплачено уже более $43 млрд, из них $28 млрд составили средства на выкуп акций. К 13 февраля Apple выплатит дивиденды из расчета $3,05 на одну акцию.
Рик Лэйн, аналитик Moody, считает, что Apple приберегает наличку на черный день, вспоминая, что у компании уже как-то был такой период в прошлом и повторения ситуации “яблочники” явно не хотят.
Итак, на что же Apple может потратить свои средства? В сравнении с Google, которая инвестирует в технологии будущего, Apple явно сосредоточена на настоящем. Впрочем, если вдруг купертинский гигант задумается о вложениях в проекты будущего, есть отличная возможность – полеты на Марс. В NASA недавно заявили, что колония-поселение на “красной планете” будет стоить $160 млрд и крупные компании приглашаются к финансированию проекта.
Впрочем, если быть спонсором межпланетных перевозок Apple не готова, возможно, есть смысл вложиться в наземный транспорт. И основания полагать, что в компании задумывались об этом, есть. В прошлом году старший вице-президент по маркетингу Филипп Шиллер открыл общественности, что до того как создать iPhone, руководство подумывало об автомобиле.
Идея неплохая, ведь Apple в данной отрасли не придется начинать с чистого листа: 20% кэша хватит, чтобы купить наиболее успешного производителя электрокаров Tesla Motors. Останется только перекрасить седан в белый, наклеить лого и букву “i” перед “Tesla” – и получится iTesla.
Шутки шутками, а слухи об интересе купертинского гиганта к производителю электрокаров появились еще в конце прошлого года. Вообще, о продаже Tesla Motors заговорили на фоне известия о том, что концерн досрочно расплатился по долгам перед Министерством энергетики США. Масла в огонь подлил сам гендиректор американского электрического бренда, когда в комментарии к выпуску “бюджетной” версии автомобиля Tesla S заявил, что “до завершения этой миссии” он не намерен вступать в какие-либо переговоры с потенциальными покупателями компании. Как ожидается, “дешевая” (примерно вполовину стоимости нынешней Tesla Model S) модель Tesla выйдет на рынок в течение ближайших трех-четырех лет.
В октябре 2013 г. инвестиционный аналитик Аднан Ахмед из компании Berenberg выступил с открытым письмом к CEO Apple Тиму Куку и члену совета директоров Альберту Гору, в котором настоятельно советовал приобрести Tesla: “Я знаю, что это очень радикальный способ изменить производство, но это позволило бы в корне изменить структуру роста Apple. В лице Элона Маска вы можете найти сильного партнера, который придаст новый импульс инновациям в Apple”.
Tesla действительно занимается инновационным автомобилестроением (какими недвусмысленными не были бы результаты стараний), что вполне подпадает под “политику” “яблочной” компании. Еще один важный аспект – одержимость Apple вопросом сохранения окружающей среды, поэтому приобретение производителя самых безвредных для экологии автомобилей было бы вполне логичным шагом по поддержанию образа “зеленой” компании.
Еще одно направление, которым могла бы заняться Apple, – телекоммуникации. Несмотря на то что компания производит свои мобильные гаджеты, она нуждается в операторах, вроде Verizon, AT & T, Sprint и T-Mobil, дабы те обеспечили, собственно, пользование потребителем. В результате Apple должна заключать сделки, заботиться о поддержании отношений и выполнении финансовых обязательств перед операторами.
Почему бы не решить проблему и просто их всех купить? T-Mobile, которая уверяет, что у нее самый быстрый интернет на планете, в настоящее время стоит около $ 26 млрд – около 16% от общего запаса налички Apple. Sprint оценивается чуть дороже – $37 млрд. Но Apple может купить обе компании, и у нее все еще останется более $90 млрд.
Что ж, можно сказать одно: либо Apple перестраховывается, либо ожидает для себя действительно тяжелые времена…
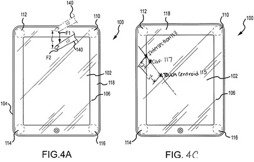
Apple переделает iPhone и iPad?!
Если вы хотите делать хорошие снимки, то одна из вещей, без которых вам не обойтись - это качественные объективы. Несмотря на наличие на рынке большого количества качественных объективов, все они не подходят для смартфонов, поэтому производителя последних неуклонно наращивают разрядность светочувствительных матриц, но крошечный объектив все эти усилия сводит в негативную область. Чтобы улучшить качество снимков, смартфонам требуются значительно более крупные объективы, но их невозможно сделать на компактном корпусе устройства.
Одним из решений данной проблемы является создание мобильных съемных объективов, которые используются в DSLR-камерах и оборудовании высокого уровня, однако сам по себе съемный механизм требует некоторого пространства, хотя бы под монтажные крепления.
Apple, судя по всему, намерена решить эту проблему. На неделе производитель iPhone подал заявку в американское Бюро патентов на новую систему монтажа объектива на смартфон. В патентной заявке, датированной еще сентябрем 2012 года, описывается система крепления, которая не меняет форм-фактор устройства и «не вредит эстетической привлекательности устройства». Ранее специалисты предлагали разные варианты крепления объективов, например магниты, однако их большая часть не была достаточно надежной, чтобы надежно соединять смартфон и объектив.
Apple разрабатывает чипы основной полосы частот для iPhone
По сообщениям, Apple планирует создать научно-исследовательскую команду для разработок процессоров основной полосы частот для использования в iPhone, которые выйдут в 2015 году, и разместит заказы на чипы основной полосы частот у Samsung Electronics и Globalfoundries, пишет Digitimes.
Несмотря на то, что некоторые источники также указали, что Apple может вести разработку SoC (однокристальных) чипов, в которые будут включены прикладные процессоры и чипы основной полосы частот, более вероятно то, что Apple продолжит использовать дискретные чипы основной полосы частот.
В настоящее время Apple приобретает чипы основной полосы частот у Qualcomm, которая выпускает чипы силами Taiwan Semiconductor Manufacturing Company (TSMC), отметили источники, добавив, что Qualcomm и TSMC окажутся затронуты, если Apple решит разрабатывать чипы основной полосы частот собственными силами.
Глобальный объём производства чипов основной полосы частот для приложений, связанных с портативными устройствами, достигает порядка 16-19 млрд долл. за год, и доля Qualcomm составляет свыше 50% доли в данном сегменте, отметили источники.